| |
振动机(V系列)

| 形式 |
電圧
(V) |
周波数
(Hz) |
振動数
(VPM) |
衝撃力
(kg) |
電流
(A) |
電圧X電流
(VA) |
重量
(kg) |
適用
制御器
(形式) |
| V-2B |
100/110 |
50/60 |
6000/7200 |
4 |
0.2
(100V時) |
20 |
1.2 |
C4-5B |
| V-4B |
100/110
200/220 |
50/60 |
6000/7200 |
10 |
0.4
(200V時) |
80 |
1.9 |
C4-5B |
| V-10A |
100/110
200/220 |
50/60 |
6000/7200 |
28 |
0.75
(200V時) |
150 |
3.7 |
C4-5B |
| V-20B |
100/110
200/220 |
50/60
(共用) |
3000/3600 |
60 |
1
(200V時) |
200 |
6.5 |
C4-5B |
| V-30C |
200/220 |
50/60 |
3000/3600 |
180 |
2.5
(200V時) |
500 |
17 |
C4-5B |
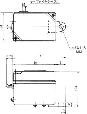
| ■外形尺寸图:バイブレータV形 V-4B |
単位:mm |
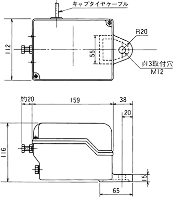
| ■外形尺寸图:バイブレータV形 V-20B |
単位:mm |
| ■外形尺寸图:バイブレータV形 V-30C |
単位:mm |
| ■外形尺寸图:バイブレータV形 V-2B |
単位:mm |
| ■外形尺寸图:バイブレータV形 V-10A |
単位:mm |
关闭窗口
|