kihua logo sinfonia logo
  | | |  
 
 

HSE微型零件系列shinko_sinfonia_神钢电机供料机


外形尺寸图
HSE-08/ME-08外形尺寸 HSE-14/ME-14外形尺寸
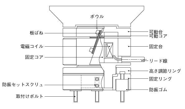
HSE构造图

零件供料器样式
形式 定格電圧
(V)
定格電流
(A)
振動数
(Hz)
質量
(kg)
標準适用控制器
HME-08 100/110 0.15 220~360 2.7 C7-03VFT
HSE-14 100/110 0.3 220~360 9
リニアフィーダ样式
形式 定格電圧
(V)
定格電流
(A)
振動数
(Hz)
質量
(kg)
シュート最大長
(mm)
シュート最大質量
(kg)
HLFB-02 100/110 0.25 220~360 1 200 0.2
HLFB-04 100/110 0.3 220~360 2.7 240 0.4

关闭窗口

 
上海起华机械有限公司 Shanghai KIHUA Machinery Co., Ltd.@版权所有
|
首页 |品牌列表 |关于我们 |联系我们 |